In der Fotografie kommt schon seit längerer Zeit ein spezielles Verfahren mit dem Namen 3CCD zum Einsatz. Dabei wird das einfallende Licht mittels eines Glasprismas gespalten und auf drei CCD-Sensoren gelenkt. Die gleiche Technologie soll künftig auch in den Smartphone-Kameras Einzug halten, denn Apple hat bereits ein entsprechendes Patent eingereicht und zugesprochen bekommen.
Auch interessant:Â Geschmacklos: Chinesisches Unternehmen LeTV vergleicht Apple mit Hitler
In den herkömmlichen Smartphone-Kameras ist bisher immer nur ein Sensor verbaut worden, der das eintreffende Licht in ein digitales Signal umwandelt und dafür sorgt, dass der Moment auf Dauer festgehalten wird. Apple will sich aber mit der bisherigen Technologie nicht zufrieden geben und will deshalb das 3CCD-Verfahren in die künftigen iPhones integrieren. Das assoziiert zumindest ein neuer Patentantrag der bereits im Jahr 2011 eingereicht wurde, allerdings erst jetzt zugesprochen wurde.
Funktionsweise 3CCD
Mit Hilfe eines Prismas wird das eingehende Licht in seine Grundfarben zerlegt und auf drei unterschiedliche Sensoren zerlegt. Diese Informationen werden dann mit Hilfe eines Algorithmus zusammengeführt und so entsteht das Bild. Wir müssen vermutlich nicht betonen, dass sich die Bildqualität und vor allem die Echtheit der Farben auf diese Weise deutlich verbessert. Immerhin wird die Aufgabe der Farbaufnahme auf drei unterschiedliche Sensoren aufgeteilt und es muss nicht Einer alleine alle Informationen verarbeiten.
Die Bayer-Matrix ist altbacken
Bisher waren die Sensoren in Smartphones und den meisten digitalen Kameras mit einer Bayer-Matrix versehen und sind mit drei verschiedenen Filtern ausgestattet, die Rot, Blau oder Grün aus dem ganzen Licht herausfiltern. Die Sensoren können nämlich nur Graustufen erkennen, weshalb eine direkte Belichtung ohne Filter zwecklos wäre. Farbtöne die zwischen dem Bereich der Sensoren liegen müssen errechnet werden, wodurch es in den Fotos oft zu einer unschönen Unschärfe kommen kann.
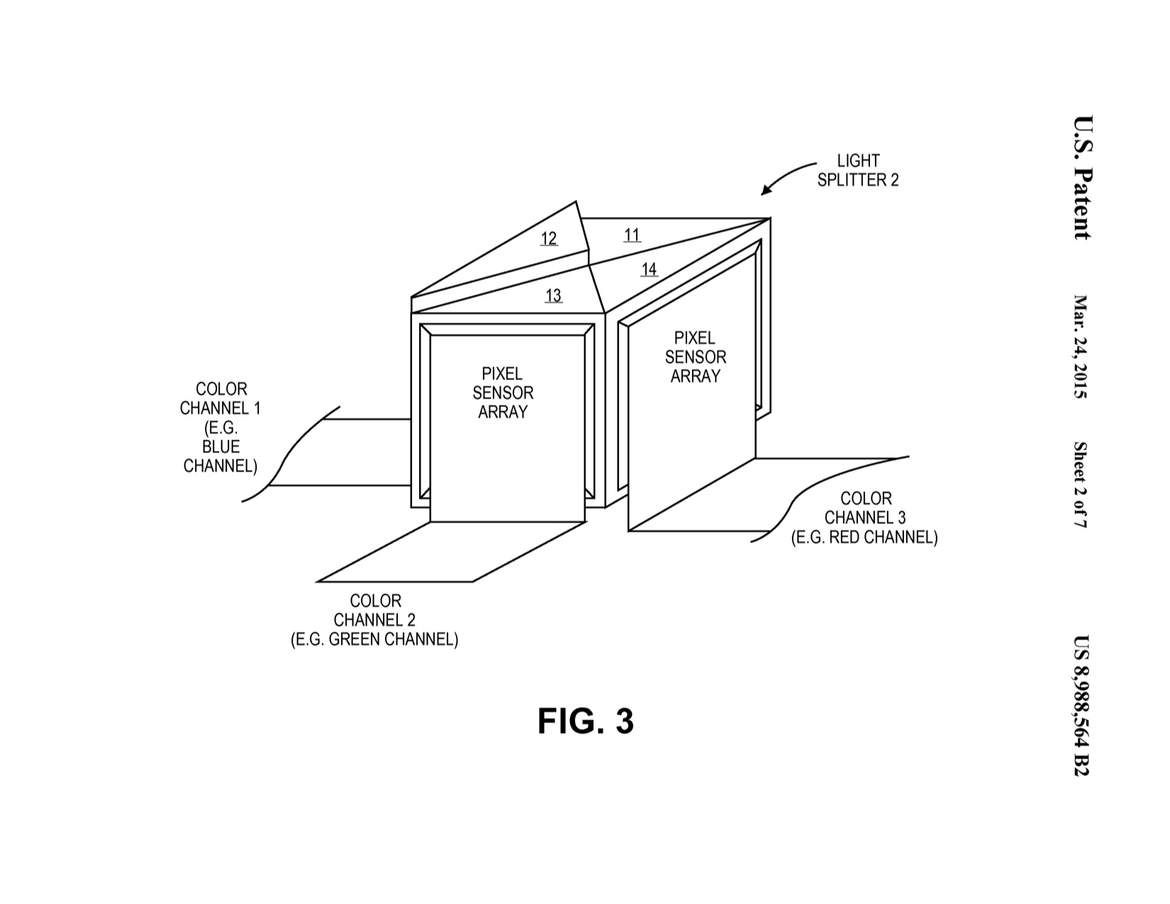
(Relativ) genaue technische Umsetzung
Interessant für einen Patentantrag ist auch die genaue Aufzeichnung der technischen Umsetzung im Gehäuse. Direkt hinter dem Objektiv wird das eintreffende Licht um 90 Grad umgelenkt, wodurch man im Gehäuse Platz hat um die Lichtstrahlen in die drei Grundfarben aufzuteilen und auf die CCD-Sensoren zu lenken.
Schade, dass genau Apple wieder einen solchen Patentantrag einreicht, denn immerhin ist das Unternehmen aus Cupertino sehr knausrig was die Lizenzen betrifft. Auf der anderen Seite ist es aber wieder gut, denn die Macher der iPhones halten normalerweise an den Patentanträgen fest und versuchen diese auch zu integrieren. Mal sehen ob die Technik bereits im kommenden iPhone 6S zum Einsatz kommt und ob sie eine Verbesserung in der Bildqualität bringen wird.

















